有困难 请致电 潼南区疫情防控镇街便民服务热线来啦!
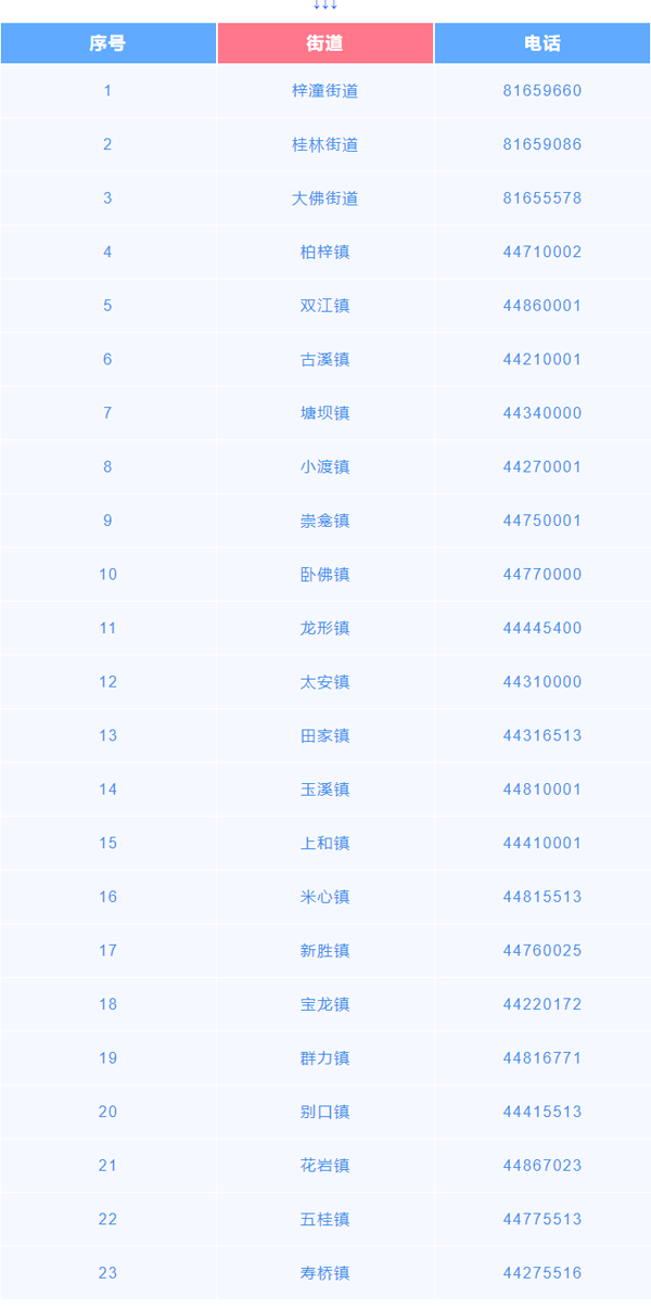
当前,疫情形势严峻复杂,在重点地区返潼人员中发现确诊病例,防控工作处于最吃劲、最紧要、最关键的时期。防疫期间,如您遇到生活救助、孕检生产、外出就医等特殊紧急情况,可拨打相应镇街便民服务热线求助。
公示公告
https://www.cqtn.com/html/col296029.htm
新闻热线:023-44579009 投稿信箱:tnxwzx@cqtn.com  网上有害信息举报专区
首页   |  时政 社会 综合  | 专题镇街 部门 外媒   |  酒店 美食 旅游   |  生活 求助 公告   | 视频 |   小编行 听新闻 潼城故事   | 图片 |   数字报 手机报 看潼南APP
有困难 请致电 潼南区疫情防控镇街便民服务热线来啦!
2022-11-15 11:28    重庆潼南区新冠肺炎疫情防控指挥部

居民朋友们:


当前,疫情形势严峻复杂,在重点地区返潼人员中发现确诊病例,防控工作处于最吃劲、最紧要、最关键的时期。防疫期间,如您遇到生活救助、孕检生产、外出就医等特殊紧急情况,可拨打相应镇街便民服务热线求助。

我们一直在您身边!

重庆潼南区新冠肺炎

疫情防控指挥部

2022年11月15日


相关新闻:
视觉潼南丨船渡碧江 江映 ...
潼南高粱红满天,丰收喜悦 ...
视觉潼南丨沃土盼稻香
视觉潼南丨晚霞中邂逅潼城 ...
微发布
手机台
新潼南
潼南网
版权与免责声明:
①凡本网注明“来源:潼南网”的所有文字、图片和视频,版权均属潼南网所有,任何媒体、网站或个人未经本网协议授权不得转载、链接、转贴或以其他方式复制发表。已经被本网协议授权的媒体、网站,在下载使用时必须注明“来源:潼南网”,违者本网将依法追究责任。
②本网未注明“来源:潼南网”的文/图等稿件均为转载稿,本网转载出于传递更多信息之目的,并不意味着赞同其观点或证实其内容的真实性。如其他媒体、网站或个人从本网下载使用,必须保留本网注明的“来源”,并自负版权等法律责任。如擅自篡改为“来源:潼南网”,本网将依法追究责任。如对文章内容有疑议,请及时与我们联系。
③ 如本网转载涉及版权等问题,请作者在两周内与本网联系。
媒体推广
  • 潼南数字报
    潼南数字报是潼南报社承办的潼南日报网,是外界了解潼南的窗口。
    【点击进入】
  • 重庆潼南
    手机报
    手机报是服务大众的“掌上党报”。工作日17:30发送,方便实用。
    【点击进入】
  • 《掌心潼南》
    新闻客户端
    《掌心潼南》APP全面升级 全新体验!爱潼南,就请关注《掌心潼南》!给你最新最全的潼南资讯!
    【点击进入】
潼网小编行
3月起,潼南这些区域全面禁钓!鱼竿收好 ...
钓鱼爱好者们注意啦!禁钓期即将到来,3月1日0时起至6月30日24时,禁捕水域全面禁止垂钓快把你的“竿 ...[详细]
潼城故事
别口:产业发展结硕果精准帮扶解难题
“我在村里的花椒基地务工,一个月至少挣个两三千块钱不成问题,还能照顾家里,比外出打工强多了。”近日,别 ...[详细]
新闻求助
如您生活中遇到困难,需要帮助,敬请联系我们,我们将帮您出谋划策或协调相关部门帮您解决。
·潼南区“兴乡专家团”首批试点镇街基本 ...
·潼南区2025年“兴乡专家团”报名表 ...
·“我申请下河救援”,舒稼铭,好样的! ...
·别让“黑心棉”寒了消费者的心
·借哈尔滨亚冬会之光照亮文旅经济新路径 ...
·全民共筑长城:国安教育亟需下沉与创新 ...
·《哪吒2》登顶中国影史票房冠军给国漫 ...
乐享生活
·探索“改造+服务”养老保障机制
·内需空间广阔 消费动能强劲
·更好满足健康消费需求
·碘缺乏和高碘并存,多部门联合推动分区 ...
·急诊室救死扶伤 跑道上治愈自己(我的 ...
·惊蛰至,疏肝润燥正当时
·梨香沁心脾 清润养气机(食愈24节气 ...
超市几块钱一袋的巴 ... 做完近视手术不能运 ...
展望2025 乘势 ... 开学季到来 注意防 ...
“哪吒”电影里的中 ... 脊柱错位到底是咋回 ...
潼南网版权所有,未经书面授权 不得复制或建立镜像
网站举报电话:023-87281015 举报信箱:tnxwzx@cqtn.com
主办:中共潼南区委、潼南区人民政府 承办:潼南区委宣传部、潼南区融媒体中心
地址:重庆市潼南区桂林街道办事处兴潼大道82号 邮编:402660 联系电话:023-61268801        
互联网新闻信息服务许可证    渝ICP备12005370号-1  渝公网安备 50022302000101号
CopyRight © 2012-2023 cqtn.com,All Rights Reserved | 关于我们 | 联系我们 | 广告业务 | 中国互联网视听节目服务自律公约 | 中国互联网举报中心 | 中国无线互联网业自律同盟